Blowout Cards Forums
AD Heritage

Go Back   Blowout Cards Forums > BLOWOUTS HOBBY TALK > GRADING

Notices

GRADING For all grading talk - PSA, BGS, SGC, etc

Reply
 
Thread Tools Display Modes
Old 09-02-2025, 12:52 PM   #26
Scottish Punk
Member
 
Scottish Punk's Avatar
 
Join Date: May 2013
Location: Ann Arbor, MI
Posts: 9,902
Default

I am not surprised. Also, doesn't surprise me that all the photos in that patent are TCG cards. I think those are what are going to be automated the quickest and easiest to do. Might already be doing it and that is why they can push 1 million TCG out the door every month. If just Pokemon becomes fully automated, that is just a cash cow.
Scottish Punk is online now   Reply With Quote
Old 10-01-2025, 04:30 PM   #27
auburn35
Member
 
Join Date: Mar 2011
Posts: 4,394
Default

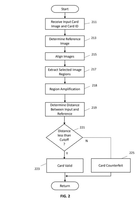
Here's another recent patent application from CU/PSA that details the little discussed AI counterfeit detection system that was put in use last year.
Nothing too exciting, but I thought it was worth a share.

The section about detecting counterfeits being difficult and expensive, without hours/years of expertise fits both collectors and graders. Accurate or not, having the authentication automated, certainly helps psa push millions of cards through the system.

https://x.com/Paul_Lesko/status/1973482815040921725



Fun AI generated overview.
__________________
Ashley Lelie Rookie Collector, always looking for more.
auburn35 is offline   Reply With Quote
Old 12-10-2025, 11:59 AM   #28
auburn35
Member
 
Join Date: Mar 2011
Posts: 4,394
Default

Doesn't really mention AI, but thought this newest grading company fit in with the "future of grading" topic.

Who needs a 10, when you can get an 11. Forget those fancy HGA labels, now you can get a fancy slab.

https://digitalmore.co/grading-eleve...oogle_vignette

__________________
Ashley Lelie Rookie Collector, always looking for more.
auburn35 is offline   Reply With Quote
Old 12-10-2025, 12:47 PM   #29
discodanman45
Member
 
Join Date: Jun 2020
Location: CA
Posts: 9,846
Default

Quote:
Originally Posted by auburn35 View Post
Doesn't really mention AI, but thought this newest grading company fit in with the "future of grading" topic.

Who needs a 10, when you can get an 11. Forget those fancy HGA labels, now you can get a fancy slab.
Is this China's version of Zeagley with the paid press releases? The card hobby is great, but the industry is a cesspool with scammers everywhere. I think people that are vehemently opposed to regulations, might think it is necessary if this BS continues.

This is not AI grading, but slabs I have been seeing.

https://mpegrading.com/

Anyone that grades with a company that charges $4.50 better be careful. They are grading on their kitchen table, don't have a business license, and absolutely don't have insurance. Someone will find out where they are located and will pull an ACE Grading theft situation. MPE also puts down a thousand times that they are a "Veteran-Owned" company. My reaction is they are more likely a 17 year-old Gary Vee follower that is using that veteran verbiage to help their hustle. This brings back vibes of Southern Values Card Grading (SVCG) with their owner/rapper Country Thuggin Dewey having a specialty confederate flag label. Nothing, I mean NOTHING, shocks me in this hobby.
__________________
Always looking for rarer Rik Smits cards and cards from the 2014-15 Spectra Global Icons set. Send me a message!
discodanman45 is online now   Reply With Quote
Old 12-10-2025, 01:34 PM   #30
auburn35
Member
 
Join Date: Mar 2011
Posts: 4,394
Default

Yes, clearly a paid press release, and like that MPE mess, something to avoid.. Just thought the ridiculous grading scale was humorous.
__________________
Ashley Lelie Rookie Collector, always looking for more.
auburn35 is offline   Reply With Quote
Old 12-10-2025, 01:35 PM   #31
inaka
Member
 
inaka's Avatar
 
Join Date: Sep 2021
Posts: 1,171
Default

Quote:
Originally Posted by auburn35 View Post
Doesn't really mention AI, but thought this newest grading company fit in with the "future of grading" topic.

Who needs a 10, when you can get an 11. Forget those fancy HGA labels, now you can get a fancy slab.

https://digitalmore.co/grading-eleve...oogle_vignette

Obligatory video clip of GEA's Head of Marketing explaining to a reporter their new grading system:



__________________
Sports Card Organizer Software for Mac & Windows
www.InakaSoftware.com/SportsCardDatabase
inaka is online now   Reply With Quote
Reply

Bookmarks


Posting Rules
You may not post new threads
You may not post replies
You may not post attachments
You may not edit your posts

BB code is On
Smilies are On
[IMG] code is On
HTML code is Off

Forum Jump


All times are GMT -5. The time now is 07:00 PM.


Powered by vBulletin® Version 3.8.11
Copyright ©2000 - 2025, vBulletin Solutions Inc.
Copyright © 2019, Blowout Cards Inc.