Blowout Cards Forums
2025 Black Friday

Go Back   Blowout Cards Forums > BLOWOUTS HOBBY TALK > GRADING

Notices

GRADING For all grading talk - PSA, BGS, SGC, etc

Reply
 
Thread Tools Display Modes
Old 09-01-2025, 12:24 AM   #1
88horsepower
Member
 
88horsepower's Avatar
 
Join Date: Jul 2012
Location: Somewhere In Time
Posts: 23,824
Default A.I. & The Future of Grading

Whether you like it or not, A.I. is here and it's not going anywhere. You can't log onto Facebook without stumbling across various A.I. images and so-called "articles" written by ChatGPT despite appearing to have been written by a human being. A.I. is most certainly infiltrating the third-party grading market as companies like TAG Grading have started using A.I. to seek out imperfections on cards, it's only a matter of time before A.I. becomes prevalent at PSA in an effort to cut costs and remove the human factor from the grading process.

I have to imagine PSA will use A.I. to grade cards to maximize profits, but I'm sure they'll say it's all in the name of improving their product. Either PSA will get in on the action and use A.I. or lose market share to a company with stronger and more consistent grading standards. Whether PSA gets in on the action or not, I think as A.I. becomes more and more widespread in the world of third-party grading, older PSA slabs with certs that pre-date the use of A.I. technology will likely suffer in value due to the perception that they are inferior "10s" to new 10s that populate the marketplace.

In fact, I'm already seeing older PSA slabs losing value in the marketplace in favor of slabs with newer cert numbers due in large part to the perception that PSA is stricter on grading. But this also puts PSA in a very tough spot. Whether they being using A.I. or not, I do feel that A.I. will become the standard as it is more refined and if that is the case, people who own PSA slabs from older generations will feel betrayed by PSA due in large part to the fact that their slabs will have lost significant value in favor of the newer slabs.

I'm just spit balling a bit here, but it's been on my mind for several months now. Full disclosure here, for reasons beyond those stated here in this post, I have been pulling away from PSA and selling most of my PSA slabs. I no longer feel PSA is a company for the pure collector and thus I no longer feel like paying them for their services. Nonetheless, the aforementioned thoughts on A.I. are on my mind and I do wonder what the rest of you feel about this. Hopefully we can have a reasonable discussion on the matter.
88horsepower is online now   Reply With Quote
Old 09-01-2025, 04:28 AM   #2
itsbaytime
Member
 
Join Date: Feb 2021
Posts: 764
Default

What about the fact that you can just have something reholdered?
itsbaytime is offline   Reply With Quote
Old 09-01-2025, 04:49 AM   #3
RKH916
Member
 
Join Date: Oct 2024
Posts: 512
Default

Too many variables involved for "AI" to ever flatten out the variance in grading. It'll be a very costly experiment that will inevitably result in failure.

PSA is very likely already using it for low value orders to clear backlogs, which has resulted in even more grading variance and is probably responsible for the increase in seemingly random and inexplicable 5's and 6's getting thrown around.

I put AI in parenthesis because it seems to be a very broad umbrella term for a bunch of wildly different technologies that people don't seem to know very much about.

Large Language Models aren't very good with subjective conceptualization. They just sound like they are. You'd be using much more traditional computational methods if you wanted to automate grading.
RKH916 is offline   Reply With Quote
Old 09-01-2025, 07:50 AM   #4
mjohnatgt
Member
 
mjohnatgt's Avatar
 
Join Date: Apr 2015
Location: Niceville, FL
Posts: 14,725
Default

I read this same post five, three, and one year ago. Doesn't seem like PSA has changed any.
mjohnatgt is online now   Reply With Quote
Old 09-01-2025, 09:33 AM   #5
88horsepower
Member
 
88horsepower's Avatar
 
Join Date: Jul 2012
Location: Somewhere In Time
Posts: 23,824
Default

Quote:
Originally Posted by itsbaytime View Post
What about the fact that you can just have something reholdered?
Reholdering the slab does not include re-grading the card. They simply put the card in a new slab, and the cert remains the same. So, if it's a card that was graded, for example, in 2004, the cert will be the same cert used back then, which instantly tips people as to when the card was graded.

Quote:
Originally Posted by RKH916 View Post
Too many variables involved for "AI" to ever flatten out the variance in grading. It'll be a very costly experiment that will inevitably result in failure.

PSA is very likely already using it for low value orders to clear backlogs, which has resulted in even more grading variance and is probably responsible for the increase in seemingly random and inexplicable 5's and 6's getting thrown around.

I put AI in parenthesis because it seems to be a very broad umbrella term for a bunch of wildly different technologies that people don't seem to know very much about.

Large Language Models aren't very good with subjective conceptualization. They just sound like they are. You'd be using much more traditional computational methods if you wanted to automate grading.
PSA purchasing Genamint in 2021 and it was publicly announced. They are using A.I. for the purposes of detecting several factors. It's even more refined four years later in 2025. Nat Turner also works for an investment firm that works with several A.I. companies. I am sure Nat would be interested in a grading model that would reduce the human factor. TAG Grading is already using A.I. for the purposes of grading cards. In fact, what I have seen from TAG is fairly impressive in terms of how they use A.I. to grade cards and I do think the transparency with how they determine grades is outstanding.

Quote:
Originally Posted by mjohnatgt View Post
I read this same post five, three, and one year ago. Doesn't seem like PSA has changed any.
PSA has changed. They acquired Genamint in 2025, they have already announced that they have tightened their grading policies for what is required for a PSA 10. This is widely publicized and there is already a shift occurring where newer PSA 10s with more recent certs are being favored over older slabs.
88horsepower is online now   Reply With Quote
Old 09-01-2025, 10:09 AM   #6
salsdali
Member
 
Join Date: Mar 2023
Posts: 202
Default

Quote:
Originally Posted by 88horsepower View Post
PSA has changed. They acquired Genamint in 2025, they have already announced that they have tightened their grading policies for what is required for a PSA 10. This is widely publicized and there is already a shift occurring where newer PSA 10s with more recent certs are being favored over older slabs.
wouldn't that mean that PSA has just admitted that their "subjective" grading over the years was flawed? If so, why would anyone trust PSA now if they are basically admitting that they weren't really "professional" graders all those years.

IOW, they are basically admitting they have scammed everyone for 30 years.
salsdali is offline   Reply With Quote
Old 09-01-2025, 10:35 AM   #7
mjohnatgt
Member
 
mjohnatgt's Avatar
 
Join Date: Apr 2015
Location: Niceville, FL
Posts: 14,725
Default

Yeah, there are a bunch of people who think they bought Genamint only so a competitor wouldn't purchase the company.
mjohnatgt is online now   Reply With Quote
Old 09-01-2025, 10:47 AM   #8
rfgilles
Member
 
rfgilles's Avatar
 
Join Date: Sep 2019
Location: Long Island, NY
Posts: 4,309
Default

Quote:
Originally Posted by mjohnatgt View Post
I read this same post five, three, and one year ago. Doesn't seem like PSA has changed any.
At least once a year somebody makes a post like this seemingly unaware of companies like TAG and AGS.
__________________
BO Resident TAG Grading shill
rfgilles is offline   Reply With Quote
Old 09-01-2025, 11:17 AM   #9
88horsepower
Member
 
88horsepower's Avatar
 
Join Date: Jul 2012
Location: Somewhere In Time
Posts: 23,824
Default

Quote:
Originally Posted by rfgilles View Post
At least once a year somebody makes a post like this seemingly unaware of companies like TAG and AGS.
Yep. TAG, in fact, was something I was investing some time in learning about and although I don't plan to use them, it was refreshing to see how transparent they are about how grades are determined. There are a few YouTube videos that showcase this.

Quote:
Originally Posted by mjohnatgt View Post
Yeah, there are a bunch of people who think they bought Genamint only so a competitor wouldn't purchase the company.
Either way, it sends a message that PSA likes it and wants it for their own purposes.

Quote:
Originally Posted by salsdali View Post
wouldn't that mean that PSA has just admitted that their "subjective" grading over the years was flawed? If so, why would anyone trust PSA now if they are basically admitting that they weren't really "professional" graders all those years.

IOW, they are basically admitting they have scammed everyone for 30 years.
They are in an impossible position, and they know it. They have to shift with the times and use what technology is out there and devalue their older slabs or don't use the technology and get overtaken by another company keeping up with the times. PSA will have to PR the situation by claiming that they are always looking to improve the quality of their service, but it does in fact mean that anything pre-dating the change in ownership will be devalued when more superior PSA 10s start populating the market. It's already happening with newer PSA 10s with more recent certs.
88horsepower is online now   Reply With Quote
Old 09-01-2025, 11:34 AM   #10
Archangel1775
Member
 
Join Date: Mar 2012
Location: Cali baby!
Posts: 21,892
Default

I was going to say, PSA purchased an AI Grading Company and TAG already has a patented AI method. It's nothing new. You can tell PSA was testing it for at least some parts of the grading process with the results of some orders. In general they are trying to automate the process as much as possible. Doubtful a complete AI method is ready.
__________________
There are the intangibles that set someone apart from the pack.So the blur isn't your inability to see his greatness, it's merely the inability to measure it.
Archangel1775 is offline   Reply With Quote
Old 09-01-2025, 12:00 PM   #11
88horsepower
Member
 
88horsepower's Avatar
 
Join Date: Jul 2012
Location: Somewhere In Time
Posts: 23,824
Default

Quote:
Originally Posted by Archangel1775 View Post
I was going to say, PSA purchased an AI Grading Company and TAG already has a patented AI method. It's nothing new. You can tell PSA was testing it for at least some parts of the grading process with the results of some orders. In general they are trying to automate the process as much as possible. Doubtful a complete AI method is ready.
I definitely believe it's still being refined, but I do believe a complete A.I. method will be the norm in short time. When that happens, I do believe older higher end rookie PSA 10s that are higher in population (e.g. 1983 Donruss Tony Gwynn) will lose value in favor of the newer PSA 10s that are A.I. graded rather than human graded.
88horsepower is online now   Reply With Quote
Old 09-01-2025, 12:30 PM   #12
Snowcat
Member
 
Join Date: Jan 2024
Posts: 327
Default

There's a reason grading companies run from transparency. It would expose their subjective nature and show just how inconsistent they've been over the years.

AI is being used in surgeries. It can certainly be implemented into the condition assessment of pieces of paper stock
__________________
Buying:
•Paul Kariya serialized jersey number cards (#9)
•Any Young Guns High Gloss or YG Printing Plate
•Elvis Relic Cards

Last edited by Snowcat; 09-01-2025 at 12:33 PM.
Snowcat is offline   Reply With Quote
Old 09-01-2025, 01:05 PM   #13
88horsepower
Member
 
88horsepower's Avatar
 
Join Date: Jul 2012
Location: Somewhere In Time
Posts: 23,824
Default

Quote:
Originally Posted by Snowcat View Post
There's a reason grading companies run from transparency. It would expose their subjective nature and show just how inconsistent they've been over the years.

AI is being used in surgeries. It can certainly be implemented into the condition assessment of pieces of paper stock
100% on both comments.

The part about grading companies hiding transparency is most associated with PSA. Not that BGS adding the four subgrades is fully transparent, but PSA doesn't even do that unless you pay a fee and even then, the notes I've seen are not nearly as transparent as what I saw in the TAG video. Again, not pumping TAG here, but they are an example of what kind of transparency I would have appreciated when I was subbing to PSA.
88horsepower is online now   Reply With Quote
Old 09-01-2025, 01:08 PM   #14
inaka
Member
 
inaka's Avatar
 
Join Date: Sep 2021
Posts: 1,160
Default

If anyone is worried about AI tech disrupting their PSA graded collection, it's important to note that PSA spent three years developing a new "industry standard" tamper proof "upgraded" slab that they unveiled last year, and it was such a debacle with "flow lines" that were hideous and obvious from the get-go (and even shown on some of their promo material) that they retreated on this new tech almost immediately. Not sure if they ever corrected/solved this, because initially they used the Apple "you're holding it wrong" type solution.

I personally think PSA has already implemented AI into their grading as a pre-grade step to kick out min size cards. Since PSA doesn't charge for min size rejections, it makes sense for them to use an automated process to reject cards that don't meet the minimum size standard, especially since they don't make any money off of them. But again, PSA is going to be PSA and this process has been implemented so poorly that it often gives a min size rejection on cards that are perfectly fine. So then people send them to SGC or another company and voila it gets a grade. Another fail if you ask me, but financially it's a win because it causes customers to resubmit cards right back to PSA, often with other cards in a new order. (It's the "free fries with any $2 purchase" incentive move from McDonalds.) PSA thinking about that $$$ and not the quality of their service once again.

I actually don't think PSA wants AI grading. Much the same way cities often don't want red light cameras and speed cams, and they'd rather use actual police officers to enforce this. Because once processes are completely automated, red light cameras and speed cams start mailing out violations to judges, wives of police officers and such, and that can't happen. That prohibits a human police officer from letting off their speeding Captain with just a warning. Similarly, AI would prohibit PSA's ability to manipulate grading (aka pop control) and that isn't a benefit to them in the long run.

So OP, I completely agree with you on the greed of PSA and how that has turned you off to using their service. Me too. I won't grade any more vintage cards with PSA ever. Hell, I'll go to Beckett before going back to PSA for vintage, but ironically PSA's same greed is perhaps why they actually won't implement AI grading into the mix, not the other way around. If anything, they'll buy up an AI grading company (or AI technology) that starts to take off, just to kill it, not to implement it, so PSA remains dominant. Again, greed at any cost.

Just my take.
__________________
Sports Card Organizer Software for Mac & Windows
www.InakaSoftware.com/SportsCardDatabase
inaka is offline   Reply With Quote
Old 09-01-2025, 03:15 PM   #15
salsdali
Member
 
Join Date: Mar 2023
Posts: 202
Default

Quote:
Originally Posted by inaka View Post
If anything, they'll buy up an AI grading company (or AI technology) that starts to take off, just to kill it, not to implement it, so PSA remains dominant. Again, greed at any cost.
that will never happen because there will be so many AI companies that could do this.

The irony is any company could use AI to script an AI automation to do this.

Heck, you could probably do this right now with chatgpt.
salsdali is offline   Reply With Quote
Old 09-01-2025, 03:25 PM   #16
Scottish Punk
Member
 
Scottish Punk's Avatar
 
Join Date: May 2013
Location: Ann Arbor, MI
Posts: 9,890
Default

I will agree with one thing with Inaka, I think PSA is already doing a large chunk of ultra modern of certain sets and most likely pokemon with AI. Once they announce it, they will have already been doing it for months. Collectors won't notice a shift overnight. I like some aspects of TAG, but i wouldn't doubt PSA and even CGC are already doing everything TAG is doing minus the DIG report. There is a reason TAG is stuck with ultra modern. We are a long way for AI with vintage cards and awkward card stocks.

I would really love for any company to come out with AI to detect micro trimming in vintage or card treatments on modern. Getting the grade "correct" between a 9, 9.5, or 10 is still very subjective. In the end, I really don't care that much as long as card is Mint.
Scottish Punk is online now   Reply With Quote
Old 09-01-2025, 04:10 PM   #17
inaka
Member
 
inaka's Avatar
 
Join Date: Sep 2021
Posts: 1,160
Default

Quote:
Originally Posted by salsdali View Post
that will never happen because there will be so many AI companies that could do this.

The irony is any company could use AI to script an AI automation to do this.

Heck, you could probably do this right now with chatgpt.
Sure, and early on in the late 1990s any tech person could have implemented one-click ordering on their web site by pre-saving billing and shipping information, but they actually couldn't. Amazon owned the patent on that for about 20 years.

So it depends on if companies have patents on certain use cases of AI specifically in card grading, and of course if those patents are actually enforceable.

TAG's big thing was promoting multiple patents they had regarding using certain aspects of AI in card grading. This was likely done as an announcement to the other companies that they had exclusivity on certain AI tasks, and also with the hopes of being bought out (aka my example of what Collector's Universe/PSA would do if TAG was actually a threat).
__________________
Sports Card Organizer Software for Mac & Windows
www.InakaSoftware.com/SportsCardDatabase
inaka is offline   Reply With Quote
Old 09-01-2025, 05:32 PM   #18
salsdali
Member
 
Join Date: Mar 2023
Posts: 202
Default

Quote:
Originally Posted by inaka View Post
Sure, and early on in the late 1990s any tech person could have implemented one-click ordering on their web site by pre-saving billing and shipping information, but they actually couldn't. Amazon owned the patent on that for about 20 years.

So it depends on if companies have patents on certain use cases of AI specifically in card grading, and of course if those patents are actually enforceable.

TAG's big thing was promoting multiple patents they had regarding using certain aspects of AI in card grading. This was likely done as an announcement to the other companies that they had exclusivity on certain AI tasks, and also with the hopes of being bought out (aka my example of what Collector's Universe/PSA would do if TAG was actually a threat).
the irony is AI would be the perfect service to use to create an algorithm that didn't infringe on another AI patent.

algorithms and such can be modified to not substantially infringe and AI would know exactly what to change to make that happen.

Think of AI like the most perfect patent lawyer, better than any human.

the future is just going to be one AI company upstaging another AI company and then that AI company upstaging the original AI company, and it will all be done in milliseconds
salsdali is offline   Reply With Quote
Old 09-02-2025, 06:46 AM   #19
bojesphob
Member
 
Join Date: May 2014
Posts: 3,734
Default

Quote:
Originally Posted by salsdali View Post
that will never happen because there will be so many AI companies that could do this.

The irony is any company could use AI to script an AI automation to do this.

Heck, you could probably do this right now with chatgpt.
There would need to be custom applications built for grading. ChatGTP is a natural language model and generative AI model AI. In other words, it's really good at finding information for you, or creating AI generated images or text. Not quite the same as doing a deep dive into the condition of a card.

I liken this to doctors and specialties: You wouldn't go to a podiatrist for a skin condition. Same with AI, you wouldn't use NLM to check corners or generative AI to look at the surface. You would either get nonsensical results or the amount of processing power it would need would be cost and time prohibitive. I think someone on here in an earlier discussion was talking about 3D scanning, and that could definitely help, but the models would have to be custom made and tested. Not saying that isn't possible, but none of the public facing AI bots right now are geared for that sort of thing.

We just had a discussion about AI at work, and someone brought up a meme that went something like: "When I asked ChatGTP about something I didn't know anything about, I was amazed at how well it worked and the quality of the answers. Oddly, though, when I asked it about something I already knew about, it was only right about 10% of the time." This was in relation to "vibe coding", after someone mentioned the vibe coder that asked for a couple of changes to a project he was working on, and the AI made massive changes to production during a change blackout and then deleted the company's production database.

AI is a great tool, and definitely helps to make people's jobs easier when used properly, but it's still in the Hype phase right now where reality is nowhere near what most people think.
bojesphob is offline   Reply With Quote
Old 09-02-2025, 07:21 AM   #20
Scottish Punk
Member
 
Scottish Punk's Avatar
 
Join Date: May 2013
Location: Ann Arbor, MI
Posts: 9,890
Default

Quote:
Originally Posted by bojesphob View Post
There would need to be custom applications built for grading. ChatGTP is a natural language model and generative AI model AI. In other words, it's really good at finding information for you, or creating AI generated images or text. Not quite the same as doing a deep dive into the condition of a card.

We just had a discussion about AI at work, and someone brought up a meme that went something like: "When I asked ChatGTP about something I didn't know anything about, I was amazed at how well it worked and the quality of the answers. Oddly, though, when I asked it about something I already knew about, it was only right about 10% of the time." This was in relation to "vibe coding", after someone mentioned the vibe coder that asked for a couple of changes to a project he was working on, and the AI made massive changes to production during a change blackout and then deleted the company's production database.

AI is a great tool, and definitely helps to make people's jobs easier when used properly, but it's still in the Hype phase right now where reality is nowhere near what most people think.
Yes, your second point is something I have been trying to keep in mind. I am slowly learning my way around in AI. I work in IT, so it is going to be an expected thing I think. ChatGTP just scoures internet sources for what it can find for the answers (I would think some sources are weighted heavier than others?) and use predictive models to fill in the blanks. It all seems correct, but as you mentioned if you have a good deal of knowledge already, you do notice the errors. AI is much heavier on the "A" than on the "I".

The more I dig into AI, the less I think we are going to get this revolution in 2-3 years. I don't think we are going to hit AGI as soon as Altman, Musk, etc are predicting. They are in the hype business to keep those billion dollar funding rolling in.
Scottish Punk is online now   Reply With Quote
Old 09-02-2025, 09:30 AM   #21
RKH916
Member
 
Join Date: Oct 2024
Posts: 512
Default

I tried to make that point in my first post.

Quote:
I put AI in parentheses because it seems to be a very broad umbrella term for a bunch of wildly different technologies that people don't seem to know very much about.

Large Language Models aren't very good with subjective conceptualization. They just sound like they are. You'd be using much more traditional computational methods if you wanted to automate grading.
Yes, "AI" is largely one big hype train.

"AGI", similarly. It's not around the corner in any real terms. If it were, you'd be seeing a huge, irrefutable correlation in productivity already. But you're not, and you likely won't for a long time.

But the train needs to roll because superintelligence is a very real possibility and whoever gets there first effectively conquers the next millennia.

If you're interested in the subject, Nick Bostrom's book 'Superintelligence' from around a decade ago is a sobering read on the subject and will help you wade the muddied waters that we're dealing with today.

The biggest real-world implication of "AI" over the next decade will be its use to shape the views of the layman (i.e., propaganda) and an increasingly incapable and overly reliant younger population. In the gym the other day I overheard a conversation from two young women discussing some kind of relationship/family issue, and one of the girls asked, "Have you asked AI?".

You know how 99% of people are reliant on calculators to the point that their arithmetic ability completely erodes? Apply that to everything.

The future is bleak. But Altman, et al, love that idea. So too politicians.

EDIT: Just saw this on the last page of the TAG thread...... lol

Quote:
Originally Posted by auburn35 View Post
Not sure if these have been already discussed, but thought it was worth sharing.

Seems both the human and machine graders need to be updated. Can't even replicate the same set year or card number, but the main issue is these are not legacy or Masterpiece 1/1 parallels.



Last edited by RKH916; 09-02-2025 at 10:04 AM.
RKH916 is offline   Reply With Quote
Old 09-02-2025, 10:08 AM   #22
Scottish Punk
Member
 
Scottish Punk's Avatar
 
Join Date: May 2013
Location: Ann Arbor, MI
Posts: 9,890
Default

You can see the arithmetic problem in every fast food restaurant when you give the person money which isn't a round number. I do a bit odd cash totals so I get less change back. if some thing ends in .78 cents. I give them 3 pennies so I just get a quarter back as change. Or as simple as getting exact change even with the bills being larger than needed so the change is all in bills.

Having a whole generation reliant on an app to think for them is terrifying. Hopefully, teachers adjust and do more live tests/homework so kids are forced to not use phones in classroom.
Scottish Punk is online now   Reply With Quote
Old 09-02-2025, 11:20 AM   #23
KeltonB
Member
 
KeltonB's Avatar
 
Join Date: Sep 2009
Posts: 534
Default

Quote:
Originally Posted by Scottish Punk View Post
Having a whole generation reliant on an app to think for them is terrifying. Hopefully, teachers adjust and do more live tests/homework so kids are forced to not use phones in classroom.
You can really break their minds with this...

KeltonB is online now   Reply With Quote
Old 09-02-2025, 12:43 PM   #24
auburn35
Member
 
Join Date: Mar 2011
Posts: 4,391
Default

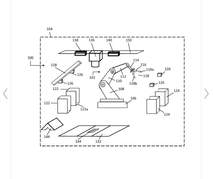
In addition to genamint, PSA has several of their own patent application related to AI and/or machine learning applications for grading and authentication.

Not much has been publicly discussed, but PSA has been using some type of automated counterfeit detection since early last year. Not a huge surprise, but Nat even mentioned psa flagged several hundred cards that were already in circulation.

This illustration could certainly explain how cards are getting damaged. robot arm crush!

"The method can further include training a set of machine learning models based on the training set. Each machine learning model from the set of machine learning models can generate a grade for an image attribute from a set of image attributes. The set of image attributes can include an edge, a corner, a center, or a surface. The method can further include executing, after training, the set of machine learning models to generate a set of grades for an image of collectable not included in the training set."



"The method further includes inputting the features associated with each image from that subset of images to a trained ML model from a plurality of trained ML models to generate an output indicating whether a collectible associated with that image is authentic or counterfeit."
__________________
Ashley Lelie Rookie Collector, always looking for more.
auburn35 is online now   Reply With Quote
Old 09-02-2025, 12:50 PM   #25
Bosoxfan5990
Member
 
Bosoxfan5990's Avatar
 
Join Date: Oct 2020
Location: MA
Posts: 14,530
Default

Quote:
Originally Posted by Scottish Punk View Post
You can see the arithmetic problem in every fast food restaurant when you give the person money which isn't a round number. I do a bit odd cash totals so I get less change back. if some thing ends in .78 cents. I give them 3 pennies so I just get a quarter back as change. Or as simple as getting exact change even with the bills being larger than needed so the change is all in bills.

Having a whole generation reliant on an app to think for them is terrifying. Hopefully, teachers adjust and do more live tests/homework so kids are forced to not use phones in classroom.
I overheard a guy at the card show I was at yesterday mention he recently gave a cashier at McDonald's cash and received more cash in change back than he gave them in the first place.
__________________
X & IG: rossisportcards. Bethel Johnson & A. Vinatieri.
"A Goldin Shower of sorrow and regret."
-ninjacookies (11/25/24)
"never did, never will" - Delta5 (9/25/24)
Bosoxfan5990 is online now   Reply With Quote
Reply

Bookmarks


Posting Rules
You may not post new threads
You may not post replies
You may not post attachments
You may not edit your posts

BB code is On
Smilies are On
[IMG] code is On
HTML code is Off

Forum Jump


All times are GMT -5. The time now is 10:20 AM.


Powered by vBulletin® Version 3.8.11
Copyright ©2000 - 2025, vBulletin Solutions Inc.
Copyright © 2019, Blowout Cards Inc.